钢球磨煤机空心大轴检修校直工艺方法
2019-01-03于淼
(青岛远洋船员职业学院)
(青岛远洋船员职业学院)
1 钢球磨煤机工作原理
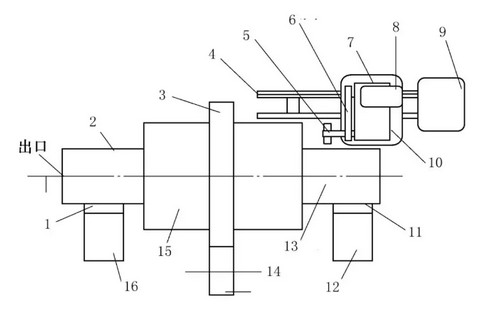
钢球磨煤机是按撞击原理工作的,内筒所装钢球随筒体旋转时,钢球上升到相应高度落下,球在筒内挠动并打碎煤粒。BM370/850,用滚筒直径和长度之比来表示。即滚筒直径为3700mm,长度为8500mm。筒内有钢板制成的圆筒和两个带空心轴的端盖焊接在一起。端盖即圆筒内衬有波浪形的钢瓦,用螺栓与筒体联接起来,在筒与钢瓦之间有石棉板等保温材料。筒的外壳装有毛毡隔音层及金属保护罩。筒体用两端的空心轴支持在两个下端为球面支撑面的大瓦上,筒体空心轴直径2000mm,大瓦宽700mm,大瓦支撑球面可以调整。入口大瓦带推力盘,称为推力大瓦。大瓦钨金使用牌号为B16钨金。钢球磨煤机使用大功率低转速的同步电动机(1600kW、100r/min、6000V)经齿轮联轴器直接驱动小齿轮,大齿轮套装在滚筒入口端,小齿轮支撑在轴承座上。如图1所示。

图1
1、6.钨金大瓦;2、5.空心轴;3.大齿轮;4.筒体;7、9.轴承座;8.小齿轮
2 钢球磨煤机空心大轴修理方法
结合设备实际情况制定两种修理空心大轴的方法。
(1)磨轴跑合法,用以解决因表面粗糙度、空心大轴(材质40Cr)与轴承(锡基轴承合金)大瓦动态接触不良引起的烧瓦。
将需要进行磨光一侧的大瓦出口、入口油管路与润滑站系统拆开,另接1个专用油箱和临时管路,装1台滤油机作临时供油用。
将大瓦上盖拆掉,装1个临时遮盖,两侧留出空档,能伸手摸到大轴,如在运行中需解决大轴带钨金大瓦温升太快太高问题时,不用拆上盖,打开检查箱盖即可。在大轴向上转的一侧搭1个工作平台。
先用盘车装置转动大齿轮,消除表面轴承跑合金屑,并用油石压磨大轴表面。再起动大齿轮,用细油石进行磨轴,用手摸大轴表面,温度超过70℃,发热处多磨,此时油石上将沾满轴承跑合金屑,应不断更换油石,并将使用过的油石表面轴承合金屑用钢丝刷沾柴油刷掉再用。当大轴温度太高时,应停车冷却后,再起动大罐磨轴,直到能长期转动,大轴表面温度不高,不再带钨金为止。
磨轴完毕,拆除临时油管路,恢复原来的供油系统,试车至工作要求。
(2)砂轮磨轴法,解决空心大轴加工精度差引起的烧瓦问题。对于大轴表面锈蚀严重、表面麻坑太深且面积大的缺陷和消除大轴加工公差太大,锥度、圆度大于0.20mm的缺陷,磨轴跑合法就不易解决问题,不能保证长期使用,就要采用砂轮磨轴法,其方法步骤如下所述。
制作专用砂轮磨轴工具:利用1台车床(CA6150),将床身底部作支撑架与大瓦底座固定好,将车床小溜板拆掉,装上1台2.2kW、2850r/min的电动机,通过一对三角皮带轮(i=1∶5)升速带动砂轮转动,砂轮转速4200r/min,砂轮直径150mm,砂轮线速度为32.83m/s。砂轮头装至大轴顶端效果更好。如图2所示。
(1)磨轴跑合法,用以解决因表面粗糙度、空心大轴(材质40Cr)与轴承(锡基轴承合金)大瓦动态接触不良引起的烧瓦。
将需要进行磨光一侧的大瓦出口、入口油管路与润滑站系统拆开,另接1个专用油箱和临时管路,装1台滤油机作临时供油用。
将大瓦上盖拆掉,装1个临时遮盖,两侧留出空档,能伸手摸到大轴,如在运行中需解决大轴带钨金大瓦温升太快太高问题时,不用拆上盖,打开检查箱盖即可。在大轴向上转的一侧搭1个工作平台。
先用盘车装置转动大齿轮,消除表面轴承跑合金屑,并用油石压磨大轴表面。再起动大齿轮,用细油石进行磨轴,用手摸大轴表面,温度超过70℃,发热处多磨,此时油石上将沾满轴承跑合金屑,应不断更换油石,并将使用过的油石表面轴承合金屑用钢丝刷沾柴油刷掉再用。当大轴温度太高时,应停车冷却后,再起动大罐磨轴,直到能长期转动,大轴表面温度不高,不再带钨金为止。
磨轴完毕,拆除临时油管路,恢复原来的供油系统,试车至工作要求。
(2)砂轮磨轴法,解决空心大轴加工精度差引起的烧瓦问题。对于大轴表面锈蚀严重、表面麻坑太深且面积大的缺陷和消除大轴加工公差太大,锥度、圆度大于0.20mm的缺陷,磨轴跑合法就不易解决问题,不能保证长期使用,就要采用砂轮磨轴法,其方法步骤如下所述。
制作专用砂轮磨轴工具:利用1台车床(CA6150),将床身底部作支撑架与大瓦底座固定好,将车床小溜板拆掉,装上1台2.2kW、2850r/min的电动机,通过一对三角皮带轮(i=1∶5)升速带动砂轮转动,砂轮转速4200r/min,砂轮直径150mm,砂轮线速度为32.83m/s。砂轮头装至大轴顶端效果更好。如图2所示。

图2
1、11.钨金大瓦;2、13.空心轴;3.大齿轮;4.车床导轨;5.砂轮磨头;6.三角带;7.中溜板;8.电动机;9.车床床头箱;10.大溜板12、16.轴承座;14.小齿轮;15.筒体
在轴承大瓦座上安装3块百分表,将触头放在轴颈外圆测量大轴径向跳动。在中溜板上安装1块百分表,能跟随刀架移动测得不同位置床身导轨与大轴外圆的平行数(全长≤0.10mm),测量读数的记录按端盖加强筋的端面均分为10等份。
装设新的润滑油系统,将需要磨轴端的原循环油系统拆开,装1台滤油机专门进行润滑循环,润滑油使用40#机油,在轴转动方向下侧加装喷油润滑管。作为磨轴过程润滑油,在下瓦口的接合面处,装设密封毛毡,毛毡用三角铁固定在三角架上,并使密封保持一定斜度,与水平面成45°。使磨轴过程中油及杂物流至外侧,防止流入大瓦而磨伤大瓦。
空心轴磨削的专用材料。砂轮磨料:白刚玉GB,粘度:60#~100#。硬度:中软2(ZR2)~中2(Z2)。结合剂:陶瓷A形状尺寸:p形150mm×32mm×25mm。组织:4#紧密组织。油石:GB或GZ240#。硬度:ZR2~Z2。结合剂:陶瓷A或X。尺寸:250mm×50mm×30mm布轮及抛光膏。
磨头纵向滑道找正:磨头纵向滑道找正是磨轴的重要环节,直接影响磨轴质量。首先将车床调至水平位置,用百分表分别靠在大轴的顶面和侧面,摇动大溜板来回滑动进行粗磨前的试找正(直线度误差≤0.20mm)。
粗磨时,应从大轴圆度Z大的一点开始,将大轴转动使大轴椭圆Z大的点与砂轮相切,用平尺沿轴向紧靠轴表面,找出大轴圆度相差Z大的两点进行纵向滑道的初步找正。Z后根据大轴的直线度(严重时大小头误差大于1mm)误差的大小,及误差位置作车床导轨的Z后找正。
用粗磨试切法检查轴表面轴向凸凹情况,决定开始磨轴的横向进刀点,利用刀架上装的百分表测出大轴的Z大凸起点为零点,开动光杠进给开关。往返把大轴外圆磨一次。从百分表上反映的数值,来确定轴向凸凹不平情况,校对刀架与轴颈实测的偏差是否相符,百分表的Z低点示值是否是轴的Z细点。Z后根据百分表反映的Z大读数点(0.20mm)为开始横向的进刀点。
进刀量的控制数。纵向进刀量:粗磨0.6×B(mm)/大轴转一周(B为砂轮片厚度);细磨:0.3×B(mm)/大轴转一周(B为砂轮片厚度)。横向进刀量:粗磨0.03mm;细磨0.01~0.02mm。
校对砂轮片径向外圆与纵向导轨使其平行度(误差≤0.10mm)一致。磨具应固定牢固、运转平稳、无振动和噪声,并装有完好防护罩。
磨轴中,磨完一个单行程,必须停下车详细检查锥度(大小头允差<0.03mm)和圆度(0.02mm以内)的变化情况,根据检查情况随时调整进刀位置和进刀量。如发现误差有增大趋势,要重新调整车床纵向找正位置。
连续磨轴,当大轴上锈蚀麻坑基本消失时,使用自制专用桥型量规,一端带百分表,百分表触头向着轴径外圆,通过多次测量,百分表反映的圆度和锥度误差均在0.01mm以下,磨轴完成。
用砂轮磨轴后,拆下砂轮,换上布轮。起动布轮加抛光剂进行抛光,抛至表面粗糙度值至少达到Ra=1.6μm。
将磨轴后的杂质清理干净,用柴油清洗。装上上瓦盖,恢复原润滑系统,满负荷试验转动大轴,试车大瓦温升符合要求(不超过60℃),则磨轴合格。
3 钢球磨煤机试车应注意的问题
装设新的润滑油系统,将需要磨轴端的原循环油系统拆开,装1台滤油机专门进行润滑循环,润滑油使用40#机油,在轴转动方向下侧加装喷油润滑管。作为磨轴过程润滑油,在下瓦口的接合面处,装设密封毛毡,毛毡用三角铁固定在三角架上,并使密封保持一定斜度,与水平面成45°。使磨轴过程中油及杂物流至外侧,防止流入大瓦而磨伤大瓦。
空心轴磨削的专用材料。砂轮磨料:白刚玉GB,粘度:60#~100#。硬度:中软2(ZR2)~中2(Z2)。结合剂:陶瓷A形状尺寸:p形150mm×32mm×25mm。组织:4#紧密组织。油石:GB或GZ240#。硬度:ZR2~Z2。结合剂:陶瓷A或X。尺寸:250mm×50mm×30mm布轮及抛光膏。
磨头纵向滑道找正:磨头纵向滑道找正是磨轴的重要环节,直接影响磨轴质量。首先将车床调至水平位置,用百分表分别靠在大轴的顶面和侧面,摇动大溜板来回滑动进行粗磨前的试找正(直线度误差≤0.20mm)。
粗磨时,应从大轴圆度Z大的一点开始,将大轴转动使大轴椭圆Z大的点与砂轮相切,用平尺沿轴向紧靠轴表面,找出大轴圆度相差Z大的两点进行纵向滑道的初步找正。Z后根据大轴的直线度(严重时大小头误差大于1mm)误差的大小,及误差位置作车床导轨的Z后找正。
用粗磨试切法检查轴表面轴向凸凹情况,决定开始磨轴的横向进刀点,利用刀架上装的百分表测出大轴的Z大凸起点为零点,开动光杠进给开关。往返把大轴外圆磨一次。从百分表上反映的数值,来确定轴向凸凹不平情况,校对刀架与轴颈实测的偏差是否相符,百分表的Z低点示值是否是轴的Z细点。Z后根据百分表反映的Z大读数点(0.20mm)为开始横向的进刀点。
进刀量的控制数。纵向进刀量:粗磨0.6×B(mm)/大轴转一周(B为砂轮片厚度);细磨:0.3×B(mm)/大轴转一周(B为砂轮片厚度)。横向进刀量:粗磨0.03mm;细磨0.01~0.02mm。
校对砂轮片径向外圆与纵向导轨使其平行度(误差≤0.10mm)一致。磨具应固定牢固、运转平稳、无振动和噪声,并装有完好防护罩。
磨轴中,磨完一个单行程,必须停下车详细检查锥度(大小头允差<0.03mm)和圆度(0.02mm以内)的变化情况,根据检查情况随时调整进刀位置和进刀量。如发现误差有增大趋势,要重新调整车床纵向找正位置。
连续磨轴,当大轴上锈蚀麻坑基本消失时,使用自制专用桥型量规,一端带百分表,百分表触头向着轴径外圆,通过多次测量,百分表反映的圆度和锥度误差均在0.01mm以下,磨轴完成。
用砂轮磨轴后,拆下砂轮,换上布轮。起动布轮加抛光剂进行抛光,抛至表面粗糙度值至少达到Ra=1.6μm。
将磨轴后的杂质清理干净,用柴油清洗。装上上瓦盖,恢复原润滑系统,满负荷试验转动大轴,试车大瓦温升符合要求(不超过60℃),则磨轴合格。
3 钢球磨煤机试车应注意的问题
钢球磨煤机旋转机械试车时,必须严格遵照试车规程进行,并全面掌握待试机械的工作特性和可能出现的运行故障,做好安全保护装置的检查,以及准备好需要采取的紧急措施和停机方法。
(1)在准备起动前,对旋转部件是否活动自如应有充分的把握,可盘动几转,观察有无卡滞现象。各润滑部位是否已得到足够的润滑,进油和排油是否正常,也应进行仔细地检查。对于外露的旋转零部件,其所有的联接处是否紧固可靠,是否能经受长期的离心力和振动影响而不致降低联接可靠性,也必须作周密的检查和分析。
(2)起动试运转,不能突然加速,也不能在短时间内升速至额定工作转速。开始起动应为点动或短时间试转,并观察其转速逐渐降低所需的滑行时间,以便及时发现可能出现的动静部分摩擦、轴承工作不正常等现象。
(3)在起动后的运转过程中,必须按照试车规程,遵照由低速到高速、由空负荷到满负荷的基本规则逐步进行。在此过程中,更需要倍加注意其振动、工作温度和噪声、受热膨胀的零部件的热胀情况,以及联接部位的紧固状况等。
通过以上各种检修工艺方法检修及试车后,再起动钢球磨煤机,长期转动,空心大轴表面温度不再升高,不再带钨金。满负荷试验转动大轴,试车大瓦温升符合要求(不超过60℃),检修合格。避免了运输周转过程中的费用,产生了可观的经济效益,得到了厂家验收人员的认可。
(1)在准备起动前,对旋转部件是否活动自如应有充分的把握,可盘动几转,观察有无卡滞现象。各润滑部位是否已得到足够的润滑,进油和排油是否正常,也应进行仔细地检查。对于外露的旋转零部件,其所有的联接处是否紧固可靠,是否能经受长期的离心力和振动影响而不致降低联接可靠性,也必须作周密的检查和分析。
(2)起动试运转,不能突然加速,也不能在短时间内升速至额定工作转速。开始起动应为点动或短时间试转,并观察其转速逐渐降低所需的滑行时间,以便及时发现可能出现的动静部分摩擦、轴承工作不正常等现象。
(3)在起动后的运转过程中,必须按照试车规程,遵照由低速到高速、由空负荷到满负荷的基本规则逐步进行。在此过程中,更需要倍加注意其振动、工作温度和噪声、受热膨胀的零部件的热胀情况,以及联接部位的紧固状况等。
通过以上各种检修工艺方法检修及试车后,再起动钢球磨煤机,长期转动,空心大轴表面温度不再升高,不再带钨金。满负荷试验转动大轴,试车大瓦温升符合要求(不超过60℃),检修合格。避免了运输周转过程中的费用,产生了可观的经济效益,得到了厂家验收人员的认可。
来源:《金属加工(冷加工)2018年06期
